Vores sortiment af facadestiger, også kaldet væggestiger, giver dig sikre, fleksible og godkendte løsninger til adgang til tag, skorstene, maskiner og andre høje dele af bygninger. Stigerne er fremstillet i let, men ekstremt slidstærk aluminium og leveres som standard med integreret faldsikring i form af beskyttelsesbur, i henhold til kravene i EN 14122-4 og Boverkets byggregler. Du kan vælge mellem et bredt udvalg af færdige længder i komplette pakker, der er klar til bestilling med det samme, eller lade vores eksperter skræddersy en facadestige præcis efter din ejendoms behov. Uanset hvad du vælger, får du en væggestige med faldsikring, der er sikker, nem at montere og bygget til lang levetid til engrospris uden mellemled. Scroll videre for at læse mere!
Vi tilbyder standardiserede facadestiger i færdige længder, der dækker de mest almindelige behov ved montering på villaer, industribygninger og offentlige ejendomme. Pakkerne indeholder en komplet løsning med stige, beskyttelsesbur, beslag og monteringsdetaljer (skrue til fastgørelse i facade medfølger ikke) - alt er klar til nem bestilling og enkel montering.
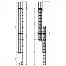
Har du brug for en løsning, der adskiller sig fra standarden? Vi hjælper dig gerne med at udarbejde en skræddersyet facadestige baseret på højde, fastgørelse, tagfodsdybde, hvileplan, afstigningssæt, lås og andre parametre. Vores modulopbyggede system gør det muligt at designe præcis det, du har brug for.

En facadestige med faldsikring er i mange tilfælde et krav ifølge gældende regler. Ifølge EN 14122-4 kræves beskyttelsesbur ved højder over 3 meter, og ifølge Boverkets byggregler er beskyttelsesbur obligatorisk ved mere end 4 meters højde fra jorden.
Hvis stigen monteres et sted, hvor børn færdes, skal den enten være forsynet med lås eller monteres i en højde af 1,5 til 3 meter over jorden for at forhindre ulykker og uautoriseret adgang.
For meget lange facadestiger, især ved højder over 10 meter, anbefaler vi også at supplere med et separat wiresystem til faldsikring. Dette system monteres nemt langs stigen og bruges sammen med personligt faldsikringsudstyr som sele og glidelås. Det giver en aktiv beskyttelse, hvis du skulle miste grebet eller balancen under klatring. Læs mere om vores wiresystem til stige og personlige faldsikringer.

Alle vores væggestiger med faldsikring er fremstillet i EN AW-6063 aluminium, hvilket giver lav vægt, høj styrke og meget god korrosionsbestandighed. Det gør dem velegnede til både indendørs og udendørs brug i alle typer miljøer.
Hvornår skal jeg installere en facadestige?
Når vedligehold kræver adgang til tag eller høje dele af en bygning, og højden er over 3 meter.
Er beskyttelsesbur altid et krav på en væggestige?
Ja, fra 3 meters højde ifølge EN ISO 14122-4 og fra 4 meter ifølge Boverket.
Hvad gælder hvis børn kan færdes ved facadestigen?
Så skal stigen enten forsynes med lås eller monteres mindst 1,5 meter over jorden for at forhindre uautoriseret adgang.
Anbefales yderligere sikkerhed ved større højde?
Ja, vi anbefaler at du installerer vores wiresystem til stige sammen med personligt faldsikringsudstyr ved større højder for aktiv sikkerhed.
Gælder samme regler for facadestige til villaer?
Ja. Både private og virksomheder er omfattet af reglerne for arbejdsmiljø og tagsikkerhed.
Kan jeg få en facadestige med lås?
Ja, vores stiger kan leveres med låsbar sektion på forespørgsel.
Hvordan får jeg en specialtilpasset facadestige?
Kontakt vores eksperter med dine krav, så udarbejder vi et tilbud og en tegning til dig!